Trappes de visite avec cadre monobloc PF et CF 1/2 h et isolation acoustique | Performance MM
Produit vert
Etudié par la rédaction
Télécharger la photothèque
Caractéristiques principales
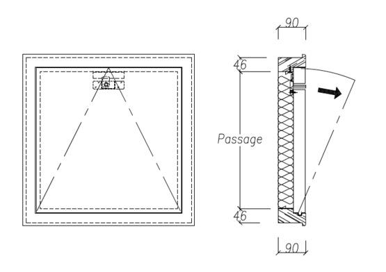
- Trappes à cadre monobloc (avec ou sans contre-cadre)
- portillon en MDF de 40 mm d'épaisseur
- équipé de deux batteuses à pênes pivotants.
- Avec ou sans laine de roche (30 ou 60 mm) pour améliorer l'isolation acoustique jusqu'à 43 dB
- Pare-flamme et coupe-feu 1/2 h
- Joints isophoniques et intumescents sur tous les modèles de la gamme
Ces trappes de visite avec ou sans cadre sont destinées à plusieurs secteurs d’activités tels que : le secteur médical, l’hôtellerie, les enseignements et les logements.
Composées d’un cadre monobloc, les trappes de visite possèdent un portillon en MDF de 40 mm d’épaisseur et deux batteuses à pênes pivotants.
Ces produits de menuiseries possèdent plusieurs avantages majeurs, tels que : ils améliorent l'isolation acoustique jusqu'à 43 dB (avec ou sans laine de roche 30 ou 60 mm), contenant un pare-flamme et coupe-feu 1/2 h.
Tous les produit de cette gamme sont équipés des Joints iso-phoniques et intumescents sur tous les modèles de la gamme.
Fiche technique Performance MM
| Classements | |
|---|---|
| Classement tenue au feu CF (durée) : | 0,5 h |
| Classement tenue au feu PF (durée) : | 30 min |
| Couleur et finition | |
| Finition : | prêt à peindre |
| Performances acoustiques | |
| Indice d'affaiblissement acoustique aux bruits aériens (Rw) : | 30 dB - moyenne ; 40 dB - indice élevé |
| Autres caractéristiques techniques du produit | |
|---|---|
| Caractéristiques techniques : | Dimensions passage (h x l) : 200 x 200 à 600 x 600 mm.Epaisseur de laine de roche : 30 (modèles MM30-37L et MM30-37CL) ou 60 mm (modèles MM30-43L et MM30-43CL).Classement tenue au feu : PF 1/2 h et CF 1/2 h (PV n° 98 E 109 délivrés par le Cticm).Niveau acoustique : 35 dB, 37 dB (avec 30 mm laine de roche), 43 dB (avec 60 mm laine de roche).Prix catalogue : non communiqué par le fabricant.Cadre et remplissage en MDF de 40 mm d'épaisseur. |
Famille d'ouvrage
Bureau-Administration
Commerce
Culture-Sport-Loisirs
Enseignement
Hôtel-Restauration
Industrie-Stockage
Logement collectif
Santé
Avis sur le produit Performance MM
Donner votre avisAucun avis n’a encore été déposé. Soyez le premier à donner votre avis.


