Brûleurs à granulés de bois avec régulateur intégré et vis sans fin d´alimentation | Pell Eco 35 et 55KW
Pell Eco 35 et 55KW
Brûleurs à granulés de bois avec régulateur intégré et vis sans fin d´alimentation | Pell Eco 35 et 55KW PROSYNERGIE
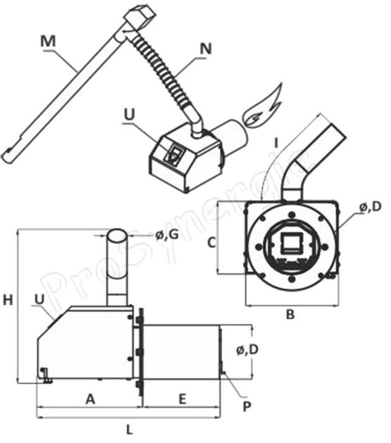
Caractéristiques principales
- Allumage et alimentation en granulés entièrement automatiques
- Résistance sans contact sec assurant l’allumage du combustible
- Ventilateur d'air modulant (de 0% à 100%) pour le nettoyage (grand débit) et l'alimentation en comburant (petit débit)
- Possibilité de piloter un ventilateur de cheminée
- Grille amovible pour faciliter le nettoyage du brûleur
Afin de garantir une combustion optimale avec un très faible taux d’émission de déchets, le brûleur à granulés de bois Pell Eco est la meilleure alternative remplaçant le fioul.
Avec un régulateur multifonctionnel permettant le pilotage du circuit de chauffage, d'une production sanitaire et du pilotage d'un générateur complémentaire, il promet un fonctionnement efficace et totalement autonome. Conçue en acier inoxydable d’une excellente qualité, sa chambre de combustion peut faire face à des températures atteignant 1150° C.
Son microprocesseur intégré assure quant à lui une exploitation ultra accessible pour une combustion du combustible maximisée. Proposé à la vente de deux différentes puissantes 35 et 55 Kw, ce dispositif de chauffage nécessite une mise en place sur une chaudière.
Doté d’une fonction d’auto-nettoyage, il se distingue par deux commandes de fonctionnement de la pompe (Chauffage central / ballon tampon et eau chaude sanitaire) ainsi que deux sondes de température servant à surveiller la chaudière et le chauffe-eau.
Avec un régulateur multifonctionnel permettant le pilotage du circuit de chauffage, d'une production sanitaire et du pilotage d'un générateur complémentaire, il promet un fonctionnement efficace et totalement autonome. Conçue en acier inoxydable d’une excellente qualité, sa chambre de combustion peut faire face à des températures atteignant 1150° C.
Son microprocesseur intégré assure quant à lui une exploitation ultra accessible pour une combustion du combustible maximisée. Proposé à la vente de deux différentes puissantes 35 et 55 Kw, ce dispositif de chauffage nécessite une mise en place sur une chaudière.
Doté d’une fonction d’auto-nettoyage, il se distingue par deux commandes de fonctionnement de la pompe (Chauffage central / ballon tampon et eau chaude sanitaire) ainsi que deux sondes de température servant à surveiller la chaudière et le chauffe-eau.
Fiche technique Pell Eco 35 et 55KW
Consommation
- Puissance : 35 kW - Pell 35 Eco ; 55 kW - Pell 55 Eco
Dimensions
- Profondeur : 450 mm - Pell 35 Eco ; 650 mm - Pell 55 Eco
- Hauteur : 520 mm
- Largeur : 591 mm - Pell 35 Eco ; 723 mm - Pell 55 Eco
Matériaux
- Matériaux : acier inoxydable - chambre de combustion
Poids / Volume / Masse
- Poids : 17 kg - Pell 35 Eco ; 20 kg - Pell 55 Eco
Famille d'ouvrage
Bureau-Administration
Commerce
Culture-Sport-Loisirs
Enseignement
Hôtel-Restauration
Industrie-Stockage
Logement collectif
Maison individuelle
Santé
Avis sur le produit Pell Eco 35 et 55KW
Aucun avis n’a encore été déposé. Soyez le premier à donner votre avis.